Покупка, снятие и замена элементов
Естественно, электрооборудование автомобиля не может работать вечно, особенно если та или иная деталь используется слишком часто. Зная расположение всех необходимых блоков и реле в них, можно, в случае возникновения неисправностей, быстро снять и установить новую запчасть, а не ехать на СТО, теряя время и деньги
Перед тем как снимать деталь, важно иметь соответствующий инструмент. Во-первых, это пассатижи. Ими следует извлекать нужное реле
Во-вторых, это тряпочка и кисточка. Они необходимы для очистки гнезда от остатков окислительных процессов, если таковые имели место. И, само собой, нужно иметь сменный комплект соответствующих деталей
Ими следует извлекать нужное реле. Во-вторых, это тряпочка и кисточка. Они необходимы для очистки гнезда от остатков окислительных процессов, если таковые имели место. И, само собой, нужно иметь сменный комплект соответствующих деталей.
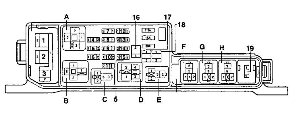
Блок предохранителей Toyota Caldina T24
Рассмотрены автомобили 2002, 2003, 2004, 2005, 2006, 2007 года выпуска.
Расположение монтажного блока под капотом.

1 — реле топливного насоса, 2 — блок реле (ABS), 3 — блок реле в моторном отсеке №2, 4 — блок реле в моторном отсеке, 5 — передний датчик SRS.
блок реле в моторном отсеке №2
ST 7,5А
- Распределение электропитания
- Система запуска
- Система управления двигателем (1Z2-FE)
- Система управления двигателем (1AZ-FSE до 01.2005 г.)
- Система управления двигателем (1AZ-FSE с 01.2005 г.)
- Система управления двигателем (3S-GTE)
- Система управления АКПП и подсветка индикаторов положения селектора АКПП (3S-GTE)
Измерение углов развала
Для определения этих параметров базовый коридор не понадобится, его можно убрать. Углы развала можно определить несколькими способами: с помощью отвеса, пузырькового уровня, цифрового инклинометра или другого угломера.
Перед началом замера углов развала нужно удостовериться, что машина стоит на ровной поверхности. Если же развал будет измеряться с помощью цифрового инклинометра, то достаточно откалибровать прибор по наклону поверхности, на которой расположена машина. Для этого следует приложить к поверхности угольник и сверить расположение угломера с положением его вертикальной грани.
На ободе колеса ставим маркером или мелом две вертикальные метки. Шнур с отвесом прикладываем к крылу, и вдоль меток линейкой или штангенциркулем измеряем расстояние от обода до шнура у верхней метки, а затем у нижней. Разница должна быть в пределах +-2мм. Прокатываем машину на четверть оборота колеса (90 градусов) и делаем еще две вертикальные метки. Снова замеряем расстояние от отвеса до обода колеса, тем самым нивелируем погрешность измерения, связанную с биением диска колеса.
Определение угла развала.
Для переднеприводных автомобилей усреднённые значения углов развала считаются в норме 0 ± 1 мм, для заднего привода нормой считается диапазон +1 ±3 мм. Для дисков размеров 13 и 14 дюймов 1 миллиметр развала равен примерно 10 угловым минутам. Точную величину допуска развала колес для конкретного автомобиля лучше всего узнать из рекомендаций завода изготовителя автомобиля.
Измерение угла развала с помощью пузырькового уровня.
Угол развала также можно измерить с помощью пузырькового уровня или телефона с установленной программой для измерения углов.
Тойота Карина Е Т190 (Корона) — предохранители и реле
Toyota Carina E представляет 6 поколение модельного ряда Carina, которая выпускалась в 1992, 1993, 1994, 1995, 1996, 1997 и 1998 году с кузовами хэтчбэк (лифтбек), седан, и универсал (вагон). За это время она прошла рестайлинг. Данная модель является Европейской версией 9 поколения леворульной Тойота Корона Т190. Данные машины очень схожи, ключевое отличие в расположение рулевого управления. В данной публикации вы сможете найти описание предохранителей и реле Тойота Карина Е (Корона Т190) со схемами блоков и местами их расположения. Отметим предохранитель отвечающий за прикуриватель.

Предохранители для Тойота Королла: их блоки, где находятся
Все электрические цепи автомобиля защищены плавкими предохранителями, их ещё называют защитными устройствами или защитными вставками, а также автоматическими выключателями, которые установлены в два блока. Эти узлы устанавливают в разных местах автомобиля Тойота Королла.
При перегорании любой вставки требуется её замена. Произвести её можно самостоятельно, если Вы знаете, где находится узел с предохранителями, его номер, а также место установки вышедшего из строя.

Центральный блок находится под панелью приборов автомобиля. Он располагается на стенке. Его закрывают легко снимаемой декоративной панелью. Второй блок располагают в моторном отсеке. Для моделей Тойота, у которых установлен кондиционер, его расположение несколько иное, он находится рядом с аккумуляторной батареей.
Что свидетельствует о выходе из строя предохранителя
В автомобилях Тойота Королла предусмотрена защита электрооборудования от токов короткого замыкания. При возникновении неисправности в электрической цепи, особенно при коротком замыкании, ток защищаемой цепи возрастает многократно. Плавкий предохранитель перегорает, тем самым защищает провода от возгорания.
Все приборы защиты имеют на панели, где их устанавливают, свои обозначения. Они нужны для того, чтобы имелась возможность для их быстрого обнаружения, потом замены. Плавкие предохранители снабжены ножевидными контактами, легко вынимаются из своих гнёзд, легко заменяются. Замена их не требует наличия специального оборудования, а проводится вручную.
При отказе в работе какого-либо элемента электрической цепи или целого электронного устройства первым делом необходимо проверить защиту этого узла.
Сделать это просто, так как корпус предохранителей изготовлен из прозрачной пластмассы и если внимательно присмотреться, то можно визуально увидеть перегоревшую нить. Также для проверки можно использовать омметр или тестер. Бывают случаи, когда может начать плавиться корпус прибора.
О видах плавких вставок
Плавкие вставки, устанавливаемые на машинах Тойота Королла, бывают трёх видов. Условно их обозначают вид А, вид В, вид С.
Все они имеют разную конструкцию, поэтому неисправность каждого из них имеет свою особенность. Так у прибора вида А неисправность в виде перегоревшей нити можно увидеть только при снятом самом приборе.
Перегоревшую нить можно увидеть сбоку, между контактами, тем самым узнать, нужно её менять или нет.
Плавкие вставки вида В устроены несколько иначе. Состояние токопроводящей нити можно увидеть, а также проверить целостность, не вынимая её из гнезда. Это видно, если посмотреть на вставку сверху. То же самое можно сказать и о приборах вида С, они отличаются только видами плавких вставок.
Инструкция по замене предохранителей
Если при диагностике электрооборудования Тойоты Королла обнаружена перегоревшая защитная вставка, её необходимо заменить. Перед заменой необходимо отключить все потребители электрического тока и только после этого приступать к замене.
Специалисты для этих целей в своей работе используют различные пинцеты. С их помощью легко вынуть, потом вставить любой проверяемый прибор. В новых автомобилях Toyota пинцеты имеются под крышкой блока, который установлен под капотом. Блоки изготовлены таким образом, что пальцами не всегда удаётся выполнить данную операцию.
Устанавливать новый предохранитель необходимо только такой, какой указан в инструкции по эксплуатации Toyota Corolla. При установке с меньшим номинальным током, он при включении оборудования снова перегорит, а если с большим – возможен выход из строя электронного блока или возгорание проводки.
Автомобили Toyota Corolla E120-E130 имеют в цепях электрооборудования 5 узлов с защитными приборами и реле. Два блока расположены в салоне машины, а три в моторном отсеке.
Предохранители и реле Toyota Caldina T21
Рассмотрены автомобили с дизельными и бензиновыми двигателями 1997, 1998, 1999, 2000, 2001, 2002 года выпуска.
Расположение блоков предохранителей.
Общая схема расположения предохранителей и реле автомобиля.

1 — датчик разрежения в вакуумном усилителе тормозов (7A-FE, 3S-FE), 2 — блок реле системы VSC, 3 — датчик давления наддува, 4 — реле свечей накаливания, 5 — резистор топливного насоса, 6 — реле управления топливным насосом, 7 — блок реле №2, 8 — блок плавких вставок, 9 — левый передний датчик SRS, 10 — правый передний датчик SRS

Для доступа к элементам отожмите фиксаторы и откройте крышку блока.
Расположение предохранителей в блоке моторного отсека.

Освещение салона, часы
Панель управления стеклоподъемниками (на двери водителя)
Правая фара (дальний свет)
Задние противотуманные фонари, система курсовой устойчивости (VSC), система подушек безопасности (SRS), многофункциональный дисплей, GPS/навигационная система
Левая фара (дальний свет)
Система впрыска топлива (электронный блок управления)
Правая фара (ближний свет)
Левая фара (ближний свет)
Блок реле и блок плавких вставок в моторном отсеке toyota caldina t21.

Схема монтажного блока.

Реле: А — реле №1 э/д вентилятора, В — реле стартера, С — реле звукового сигнала, D — реле фар, Е — главное реле системы впрыска, F — реле №2 э/д вентилятора, G — реле №3 э/д вентилятора, Н — реле кондиционера;
Плавкие вставки: 1 — ALT 100А (120А для двигателей 3S-GTE, ЗС-ТЕ), 2 — ABS 60А, 3 — HEATER 40А — отопитель, кондиционер;
Предохранители: 4 — DOME (7,5А), 5 — HEAD LAMP RH 15А, 6 — ECU-B (10A), 7 — AM2 20A, 8 — RADIO 10A, 9 — перемычка, 10 — HEAD LAMP LH 15A, 11 — HORN 10A, 12 — ALT-S 5A, 13 — POWER-2 30A, 14 — HAZARD 10A, 15 — EFI 15A, 16 — запасной 7,5A, 17 — запасной 15A, 18 — запасной 30A, 19 — FAN SUB 30A (40A для двигателей 3S-GTE, ЗС-ТЕ), 20 — FAN SUB 40A (50A для двигателей 3S-GTE, ЗС-ТЕ), 21 — MAIN 50А, 22 — HEAD RH — правая фара (LWR) (c 12.1999), 23 — HEAD LH — левая фара (LWR) (c 12.1999).
Монтажный блок реле и предохранителей в салоне.
Расположение элементов в салоне автомобиле.
11 — левый боковой датчик SRS, 12 — инвертор DC/AC, 13 — реле инвертора (до 10.1997 г.), 14 — реле электропривода люка, 15 — правый боковой датчик SRS, 16 — электронный блок управления системой навигации (с 12.1999 г.), 17 — реле очистителя заднего стекла, 18 — электронный блок управления двигателем, 19 — центральный монтажный блок, 20 — реле управления замками дверей, 21 — интегрированное реле, 22 — блок реле №1, 23 — реле разъема подключения дополнительного электрооборудования, 24 — блок предохранителей, 25 — правый кронштейн крепления разъемов, 26 — монтажный блок под приборной панелью в салоне, 27 — реле обогревателя лобового стекла (антиобледенителя щеток), 28 — реле корректора фар (с 12.1999 г.), 29 — блок управления блокировкой селектора АКПП, 30 — датчик замедления (ABS) (модели с VSC), 31 — датчик замедления (ABS, модели 4WD); датчик бокового перемещения (модели с VSC), 32 — центральный датчик SRS, 33 — реле отопителя, 34 — левый кронштейн крепления разъемов, 35 — реле топливного насоса, 36 — блок предохранителей (ЗС-ТЕ с 12.1999 г.), 37 — электронный блок управления ABS, TRC и VSC.
Источник статьи: http://avtoblokrele.ru/toyota/predohraniteli-i-rele-toyota-caldina-t21.html
Тойота Калдина 190 195 196 – схема предохранителей и реле
Седан Toyota Caldina 190 оснащен двигателем 3S-GE (кузов – ST195). Универсал 195/196 укомплектован блоками с защитными элементами, расположенными в моторном отсеке и салоне.
Схема перемычек выполнена в черно-белом варианте. На чертеже указаны номиналы прерывателей тока. Сопротивления имеют цифровой символ, реле обозначены буквой К.
Расположение в автомобиле
Комплектация боксов зависит от года выпуска и комплектации авто. Прерыватели тока закреплены на позициях F1–F14. У основания левой стойки размещены дополнительные элементы: 15 A (FR DEF) и 15 A (ACC 80CKET).
Универсальный бокс с прерывателями и реле размещен слева от аккумуляторной батареи.
Под капотом
На чертеже (1 вариант) обозначены перемычки a, b, c, d, c, f номиналом 30, 40, 50, 100 А.
На позициях F1–F12 находятся защитные элементы, контролирующие следующих потребителей:
- фары;
- аварийное устройство;
- осветительные приборы;
- систему зажигания.
В комплекс входят коммутационные выключатели:
- А – стартер;
- В – лампочка;
- С – впрыск топлива;
- D – главное реле;
- Е – габаритные огни;
- F – звуковой сигнал;
- G – вентилятор радиатора.
На 2-й схеме изображены 19 предохранителей:
В салоне авто
Силовые перемычки находятся в установочном боксе слева от водителя. В 1-м вертикальном ряду расположены прерыватели F1–F6. Плавкая вставка №5 (5 А) контролирует стартер.
2-я полоса укомплектована защитными элементами F7–F11. В 3-м ряду на позициях 12, 13, 14 установлены прерыватели, контролирующие следующих потребителей:
- ПТФ;
- центральный замок;
- стоп-сигналы.
Замена
Иногда возникают ситуации, когда требуется произвести замену предохранителей или реле в каком-либо из блоков автомобиля Тойота Карина. Несмотря на надежность японского транспортного средства, в электрической системе можете случиться сбой, из-за чего произойдет перегрев элемента, который отвечает за безопасность работы устройств автомобиля. Этим элементом и являются предохранители или реле.
Определить наличие неисправности в предохранителе можно только визуально, поэтому придется открыть блок и найти нужный элемент. Основные признаки наличия проблемы – потемнение корпуса и образование дефектов детали, представленных в виде разрывов соединения.
Перед тем, как проводить замену, стоит принять во внимание несколько советов:
- Замену необходимо осуществлять пинцетом. И желательно, чтобы он был не металлическим и маленьким. Таким образом, это не только обеспечит безопасность того, кто заменяет деталь, но также сохранит целостность электрических систем и самого предохранителя.
- Заменяемая деталь должна представлять собой аналог вышедшей из строя. Большинство автолюбителей возят с собой в автомобиле набор запасных предохранителей и реле. Определить, какой именно элемент необходим, поможет схема на крышке блока, а также нумерация предохранителей в самом агрегате.
- Если проблема возникла в плавких предохранителях, то необходимо также учитывать, что неисправность может возникнуть и во вставках.
Для замены предохранителя потребуется, в первую очередь, отключить мотор автомобиля, а также аккумулятор для того, чтобы прекратить подачу электрического тока по сети. Как только эти действия будут выполнены, можно приступать к снятию крышки блока и непосредственной замене неисправного элемента.
Тойота Карина E – автомобиль, заслуживший доверие большинства автолюбителей. Наличие трех блоков предохранителей и реле говорит о безопасной работе множества функций и устройств транспортного средства.
автомобили 1992, 1993, 1994, 1995, 1996, 1997, 1998 года выпуска.
Блок предохранителей в моторном отсеке тойота карина е.
Расположение блоков под капотом.
3 — блок предохранителей и реле №2
5 — блок предохранителей и реле №7
Схема расположения предохранителей и реле в блоке.
| Предохранители | ||
| а | HTR (отопитель) | 50A |
| b | MAIN (главная плавкая вставка) | 40A |
| с | CDS (вентилятор конден- сатора) | 30A |
| d | RDI (вентилятор радиатора кондиционера) | 30A |
| 1 | HEAD RH* (правая фара) | 15A |
| 2 | HEAD LH* (левая фара) | 15A |
| 3 | EFI (система впрыска) | 15A |
| 4 | запасной | |
| 5 | запасной | |
| 6 | HAZARD (аварийная сигнализаций | 15A |
| 7 | HORN (звуковой сигнал) | 10A |
| 8 | — | |
| Реле | ||
| А | STARTER | |
| В | HEATER | |
| С | EFI MAIN | |
| D | ENGINE MAIN | |
| Е | HEAD | |
| F | HORN | |
| G | FAN №1 |
Другой тип блока предохранителей под капотом.
| Предохранители | ||
| a | CDS (вентилятор конден- сатора) | 30A |
| b | RDI (вентилятор радиатора кондиционера) | 30A |
| c | MAIN (главная плавкая вставка) | 40A |
| d | HTR (отопитель) | 50A |
| 1 | ||
| 2 | HEAD LH’ (левая фара) | 15A |
| 3 | HORN (звуковой сигнал) | 10A |
| 4 | ||
| 5 | HEAD RH* (правая фара) | 15A |
| 6 | HAZARD (аварийная сигнализация) | 15A |
| Реле | ||
| A | ENGINE MAIN | |
| В | FAN №1 | |
| C | HEAD | |
| D | STARTER | |
| E | HORN | |
| F | HEATER |
*на некоторых модификациях возможны отдельные предохранители фар ближнего и дальнего света, расположенные в блоке предохранителей №7.
| Реле | |
| A | A/C FAN №2 |
| В | A/C FAN №3 |
| C | A/C MG CLT |
Блок предохранителей в салоне toyota carina e.
1 — блок предохранителей №3
2 — блок предохранителей №1
Блок предохранителей №1 где какие предохранители.
Audi A6 Доводим до идеала. › Бортжурнал › 1️⃣6️⃣ Расшифровка блока предохранителей и дополнительных мест расположения предохранителей и реле Ауди А6 С5
В интернете наткнулся на интересный материал о расположении дополнительных мест предохранителей и реле Ауди А6 С5. Заодно там же есть и материал расшифровки основного блока предохранителей в А6 С5. Решил что лишним не будет в моем БЖ.Расшифровка блока предохранителей Ауди А6 С5
Расположен думаю все знают где, в салоне на водительской стороне и закрыт крышкой.На крышке нанесена схема расположения предохранителей.
1. Обогреваемые форсунки омывателя стёкол 5А2. Указатель поворота 10А3. Реле омывателя фар, освещения (перчаточного ящика, кондиционера, автоматической коробки передач,панели приборов). 5А4. Освещение номерного знака 5А5. Панель приборов, обогрев сидений, устройство контроля скорости, контрольные лампы (Auto-Check-Control),катализатора, контрольной лампы дизеля, индикатора включённой передачи, выключатели зеркал и ихмоторов, контрольной лампы подушек безопасности, индикатор наружной температуры, кондиционера,автономного обогревателя, задней солнцезащитной шторы, электрического люка, помощи при парковке(Парктроник), отопителя, системы навигации). 10А6. Центральный замок 5А7. Анти-блокировочная система тормозов (ABS) 10А8. Телефон (сеть D) 5А9. Обогрев зеркал 10А10. Автоматический корректор света фар 5А11. Устройство поддержания скорости (Темпомат – круиз-контроль) с коробкой Типтроник 5А12. Питание системы самодиагностики 10А13. Сигналы торможения 10А14. Лампы внутреннего освещения, фонари для чтения, предупредительной сигнализации кражи,косметических зеркал, памяти электрически регулируемых сидений). 10А15. Панель приборов, АКПП 4-х ступ., кондиционер, память электрически регулируемых сидений иэлектрически регулируемых зеркал, таймер для Webasto, система навигации 10А16. Электронная система стабилизации (ESP) 5А17. Система навигации 10А18. Фары головного света, дальний, правая сторона 10А19. Фары головного света, дальний, левая сторона 10А20. Фары головного света, ближний, правая сторона, корректор угла наклона фар 15А21. Фары головного света, ближний, левая сторона, корректор угла наклона фар 15А22. Габаритные и стояночные огни, правая сторона 5А23. Габаритные и стояночные огни, левая сторона 5А24. Стеклоочиститель, помпа омывателя стекла, реле интервала работы стеклоочистителя 25А25. Вентилятор системы отопления, кондиционера, автономного обогревателя, электролюк 30А26. Обогрев заднего стекла 30А27. Обогрев рулевого колеса 15А28. Топливный насос, дополнительный насос дизеля 15А29. Система управления впрыском и зажиганием двигателя 20А30. Электрический люк в крыше 20А31. Фонари указателя заднего хода, устройство поддержания скорости (темпомат), автоматическая коробкапередач, диагностический разъём, тахометр, автоматически затемняемое внутреннее зеркало заднеговида, тактовый клапан системы улавливания паров бензина 15А32. Система управления впрыском и зажиганием двигателя 20А33. Прикуриватель 15А34. Система управления впрыском и зажиганием двигателя 15А35. Штепсельный разъём для прицепа 30А36. Противотуманные фары, задний противотуманный фонарь 15А37. Телефон (сеть D), радио 20А38. Освещение багажного отделения, центральный замок 15А39. Аварийная сигнализация 15А40. Звуковой сигнал 25А41. Антиблокировочная система/Система стабилизации 15А42. Электронная система стабилизации (ESP) 25А43. Контакты S (радио)44. Обогрев сидений, автономный обогреватель 30А
Дополнительные места расположения предохранителей и реле
A Не используетсяB Не используетсяC Предохранитель дополнительного нагревателя 2 — S143Предохранитель гидравлического насоса (усилитель тормозов) — S279Предохранитель топливного насоса — S81 (RS6 с левым рулем)D Предохранитель дополнительного нагревателя — S109Предохранитель топливного насоса — S81 (RS6 с правым рулем).8-ми разъемный монтажный блок
14. Термо-предохранитель регулировки сиденья водителя — S44 (Allroad)15. Предохранитель 12В разъема — S18416. Термо-предохранитель передних стеклоподъемников — S3717. Термо-предохранитель задних стеклоподъемников — S4318. Предохранитель блока ABS — S12319. Предохранитель вентилятора радиатора — S4220. Предохранитель блока управления вентилятора радиатора — S14221. Термо-предохранитель регулировки сиденья водителя — S44Предохранитель вентилятора радиатора — S42 (Allroad)22. Предохранитель пневмоподвески — S110 (Allroad)24. Термо-предохранитель регулировки сиденья пассажира — S80(Установлен на любое свободное место)
Центральное распределительное устройство с блоком реле
13-ти разъемный монтажный блок
Монтажный блок в водоотводящем коробе
Готовимся к замене
В принципе процесс замены жидкости в двигателе Тойоты Короллы не является особо трудоемким. Главное — это знать азы в целом и правильно выполнять все действия, описанные в инструкции, чтобы все сделать правильно. Итак, рассмотрим по порядку все вопросы, которые могут вас заинтересовать.
Какой ММ нужно лить?
Разумеется, транспортные средства иностранного производства должны быть качественно обслужены, чтобы всегда быть на ходу. И Тойота Королла не является исключением. В двигатель этого автомобиля должно быть залито исключительно качественное моторное масло, о чем производитель предупреждает в сервисном мануале.
Качественной жидкостью является не что иное, как оригинальное моторное масло для двигателей Тойота Королла. Оно так и называется — «Toyota motor oil». Если в автомагазинах вашего города таких расходных материалов нет, то мы можем порекомендовать вам приобрести жидкость у официального дилера или сделать заказ в интернете.
Сколько лить?
Объемы двигателей Тойота Королла составляют около 4.2 литра, в зависимости от года выпуска и комплектации. Но однозначно ответить на этот вопрос нельзя. Вам следует ориентироваться по количеству слитой отработанной жидкости, чтобы знать, сколько конкретно заливать в мотор своего авто.
Или же почитайте инструкцию по эксплуатации своего транспортного средства. Обычно в мануале производитель указывает объем двигателя внутреннего сгорания, чтобы владельцы могли ориентироваться, сколько нужно масла. В любом случае, чтобы высчитать наиболее точный объем, то вам потребуется сервисная книжка. Но в среднем в двигатели Тойота Королла входит не мене 4.2 литра.
Когда нужно менять?
Такой вопрос приходил каждому владельцу Тойоты Короллы. В принципе, здесь сроки замены жидкости такие же, как и на других транспортных средства. В среднем замену моторного масла на Тойота Королла следует осуществлять не реже 10 тысяч километров пробега.
Если вы используете некачественный расходный материал для двигателя или почувствовали, что двигатель стал не так работать, как раньше, то периодичность замены можно снизить. Замену можно осуществить и через 5 тысяч километров пробега.
Замена датчика детонации
Если
сенсор не работает, его необходимо заменить — других вариантов здесь нет. Стоит
устройство недорого, найти его можно в любом специализированном магазине.
Конечно, цена зависит от марки и модели машины, но в целом она невысока. Замену
устройства можно провести и самостоятельно, но при отсутствии навыков и опыта
лучше обратиться к мастерам. Они возьмут за работу 2-3 тыс. рублей.
Перед
заменой надо дать мотору остыть и обесточить автомобиль, отключив минусовую клемму
аккумуляторной батареи. На некоторых автомобилях устройство расположено таким
образом, что снять его получится без усилий.
Замена датчика детонации
Для
демонтажа устройства понадобится ключ на 12 — им отворачивается крепежный болт.
Дальше устройство отключается и вынимается. На его место ставится новый датчик.
Сборка происходит в обратном порядке.
Покупая
новый датчик, смотрите на то, чтобы его каталожный номер совпадал с номером
старого компонента. Тогда ЭБУ будет работать полностью корректно. Не покупайте
устройства от китайских производителей — стоят они, конечно, дешевле, но экономия
наверняка выйдет боком.
Датчик
детонации — это очень важный и вместе с тем несложный прибор, заменить который
можно, не прилагая особых усилий
Важно вовремя определить неисправность, чтобы
не нанести вред автомобилю ездой с неисправным сенсором
Обзор неисправностей и способы их ремонта
В силу конструкционных особенностей мотор 4A FE подвержен следующим «болезням»:
| Стук внутри ДВС | 1)при большом пробеге износ поршневых пальцев 2)при незначительном нарушение тепловых зазоров клапанов | 1)замена пальцев 2)регулировка зазоров |
| Повышение расхода масла | выработка маслосъемных колпачков или колец | диагностика и замена расходников |
| Мотор заводится и глохнет | неисправность топливной системы | прочистка форсунок, трамблера, бензонасоса, замена топливного фильтра |
| Плавающие обороты | засорение вентиляции картера, дроссельной заслонки, форсунок, износ РХХ | прочистка и замена свечей, форсунок, регулятора холостого хода |
| Повышенная вибрация | засор форсунок либо свечей | замена форсунок, свечей |

Ремонт 4A-FE
Пробелы с оборотами ХХ и запуском двигателя возникают после выработки ресурса датчиков или их поломки. Из-за прогоревшего лямбда-зонда может увеличиться расход топлива и образоваться нагар на свечах. На некоторые автомобили Toyota устанавливались движки с системой Lean Burn. Владельцам можно заливать бензин с низким октановым числом, но межремонтный период при этом снижается на 30 – 50%.
Engine compartment
Location
General arrangement of boxes under the hood

Designation
- vacuum sensor in the vacuum brake booster (7A-FE, 3S-FE)
- VSC relay box
- boost pressure sensor
- glow plug relay
- fuel pump resistor
- fuel pump control relay
- relay box No. 2
- fuse box
- left front SRS sensor
- right front SRS sensor
Fuse and relay box
The main fuse and relay box is located on the left side of the engine compartment, next to the battery. Several variants of its execution are possible.
Photo – example

Diagram

Protected components
| Relay A – relay No. 1 e / dv. cooling fan, B – starter relay, C – horn relay, D – headlight relay, E – injection system relay, F – relay No. 2 e / dv. cooling system fan, G – relay No. 3 e / dv. cooling fan, H – air conditioner relay; |
| Fusible links 1 – ALT 100A (120A for 3S-FSE engines), 2 – ABS 60A, 3 – HTR 40A; |
| Fuses
4 – DOME 7,5A, Interior lighting 5 – HEAD RH 15A, Headlight right side 6 – ECU-B 10A, Airbag System (SRS), Anti Lock Brake System 7 – AM2 20A, Ignition lock 8 – RADIO 10A, Radio and audio system 9 – jumper, 10 – HEAD LH 15A, Headlight left side 11 – HORN 10A, Signal 12 – ALT-S 5A, Generator 13 – POWER 2 30A, 14 – HAZARD 10A, Alarm 15 – EFI 15A (3S-FSE 20A), Electronic engine control unit 16 – FAN SUB 30A (40A diesel models), Cooling fan 17 – FAN MAIN 40A (50A diesel models), Cooling fan 18 – MAIN 50A, Main fuse 19 – EFI No. 2 25A (only 3S-FSE), Electronic engine control unit |
There is something to add to the material – write in the comments.



























