Центральный Замок, почти решено…
В продолжении темы о центральном замкеНачались мои поиски неисправности ЦЗ.Разобрал дверь водительскую, вытащил замок, у нас он состоит из одного блока, в котором находится сам замок, электромотор замка(соленоид), датчик закрытой двери, и датчик положения замка двери (закрыто/открыто)На легах, закрыта или открыта дверь — определяется внутри замка, а не как обычно на авто (как на холодильниках, кнопка выжимаемая дверью).Прочистил контакты, замка двери — которые дают сигнал на центральный замок.Проверил мутиметром на замке, все отлично! Подсоединяю — не работает.
Начал копать по проводам дальше, возле блока предохранителей под ногами водителя провода от двери обрезаны…Возникает вопрос, почему?
Смотрим дальше, установлена сигналка, и цепь ЦЗ подключена именно к ней.
Методом замеров и прочего выявлено:
С точки зрения штатного управления ЦЗ:Два проводочка, которые обрезанны(голубые с черной полоской), работают следующим образом:Когда мы замыкаем водительскую дверь и ключа или из салона, то оказывается замкнут на землю первый проводок, второй «в воздухе», когда дверь открыта, замыкается второй проводок на землю, а первый размыкается — работа в режиме фиксируемого переключателя.
С точки зрения сигнализации.Ставим на охрану авто — кратковременно замыкается первый проводок на землю, снимаем — замыкается второй, также кратковременно.
Пришел к выводу установщики обрезали штатную шнягу дабы не конфликтовали два источника управления ЦЗ.Т.е. у нас дверь заперта, а я снимаю авто с охраны, дверь держит замкнутым на землю проводок №1 — который управляет цепью замыкания дверей, а сигналка будет замыкать второй проводок на землю, который отпирает двери.
Я не пробовал подключать обратно шатаную вместе с сигналкой, так как коллизию эту просчитал теоретически.Что вы скажете? у меня сейчас идут мысли о том как сделать цепь, которая будет кратковременно замыкать реле при постоянной нагрузке, которую будет создавать датчик в двери!
Электрическая схема автомобиля ДЭУ НЕКСИЯ
Цветные электросхемы на русском языке, от автомобиля Дэу Нексия. Все схемы разделены по модулям, для увеличения достаточно кликнуть на изображении. Представленны схемы таких узлов автомобиля, как генераторной установки и системы пуска двигателя, система управления двигателем, топливные форсунки, питание, датчики и другие элементы. Чтоб скачать схемы Daewoo Nexia на компьютер — сохраните нужную картинку и откройте в программе для просмотра изображений. Вторая часть сборника схем Nexia находится тут.
Электросхема замка зажигания, стартера, генератора Дэу Нексия

G1 Аккумуляторная батарея
S1 Замок зажигания
82 Выключатель «Стоянка/нейтраль»
Схема системы зажигания Daewoo Nexia

11 Катушка зажигания
Y1 Блок зажигания
Y2 Распределитель зажигания
Топливные форсунки, питание автомобиля
Y3 Топливные форсунки
Датчики температуры, давления, скорости, заслонки — схемы электрооборудования

М2 Клапан холостого хода (КХХ)
Р1 Датчик скорости автомобиля (ДСА)
Р2 Датчик температуры охлаждающей жидкости (ДТЖ)
РЗ Датчик абсолютного давления во впускном трубопроводе (ДАД)
ХЗ Разъем переключателя октан-корректора
Р4 Датчик положения дроссельной заслонки (ДДЗ)
Р5 Электропроводка датчика концентрации кислорода (ДКК)
Р5-1 Датчик концентрации кислорода (1,5-литровые двигатели типа DOCH)
Р5-2 СО-потенциометр (1,5-литровые двигатели с МСВТ)
Р6 Датчик температуры воздуха во впускном трубопроводе (ДТВ)
Схемы системы диагностики, блокировки гидротрансформатора, топлива

МЗ Электродвигатель топливного насоса
S2 Выключатель «Стоянка/нейтраль»
S4 Реле давления масла
Х1 Разъем бортовой системы диагностики
Х2 Тестовый разъем топливного насоса
Электросхема управления трансмиссией, противоугонное устройство, подушка безопасности

К18 БЛОК УПРАВЛЕНИЯ ТРАНСМИССИЕЙ
К19 БЛОК УПРАВЛЕНИЯ ПРОТИВОУГОННОГО УСТРОЙСТВА
К20 БЛОК УПРАВЛЕНИЯ ПОДУШКИ БЕЗОПАСНОСТИ
Р1 ДАТЧИК СКОРОСТИ АВТОМОБИЛЯ
R9 КОНТАКТНАЯ КАТУШКА
Датчики температуры, давления, скорости, заслонки, клапан ХХ

М2 Клапан холостого хода (КХХ)
Р1 Датчик скорости автомобиля (ДСА)
Р2 Датчик температуры охлаждающей жидкости (ДТЖ)
РЗ Датчик абсолютного давления во впускном трубопроводе (ДАД)
Р4 Датчик положения дроссельной заслонки (ДДЗ)
Р5 Датчик концентрации кислорода (неэтилированный бензин)
Р5-1 Датчик концентрации кислорода (этилированный бензин)
Р5-2 СО-потенциомер (1,5-литровые двигатели с МСВТ)
Р6 Датчик температуры воздуха во впускном трубопроводе (ДТВ)
Схемы систем диагностики, блокировки гидротрансформатора, топлива

К2 Реле топливного насоса
МЗ Электродвигатель топливного насоса
52 Выключатель «Стоянка/нейтраль»
53 Выключатель стоп-сигнала
S4 Реле давления масла
Х1 Разъем бортовой системы диагностики
Х2 Тестовый разъем топливного насоса
Y4 Электромагнитный клапан блокировки гидротрансформатора
Противотуманные передние фары и задние фонари Дэу Нексиа

Е5 Противотуманная передняя фара (левая)
Е6 Противотуманная передняя фара (правая)
Е7 Противотуманный задний фонарь (левый)
Е8 Противотуманный задний фонарь (правый)
К5 Реле противотуманных фар
57 Выключатель противотуманных передний фар
58 Выключатель противотуманных задних фонарей
Электросхема приборов освещения автомобиля Дэу Нексиа

Е1 Лампа дальнего света (левая фара)
Е2 Лампа ближнего света (левая фара)
ЕЗ Лампа дальнего света (правая фара)
Е4 Лампа ближнего света (правая фара)
КЗ Реле включения освещения
К4 Реле включения фар
М4 Электродвигатель регулятора левой фары
М5 Электродвигатель регулятора правой фары
R2 Блок управления регулятора фар (направление светового пучка)
S5 Правый выключатель
S6 Переключатель света фар.
Профилактика неисправностей бензонасоса
На что же обращать внимание, чтобы бензонасос ходил, как можно дольше? В первую очередь, это качество топлива и конечно же своевременная замена топливного фильтра. Если в бензине, который вы заливаете, будут содержаться различные посторонние включения, это скорее всего, негативно скажется на состоянии и сроке службы топливного насоса, и не только его. Поэтому, не стоить экономить на качестве горючего, так как подобная экономия потом выливается в очень солидные траты на ремонт автомобиля
Поэтому, не стоить экономить на качестве горючего, так как подобная экономия потом выливается в очень солидные траты на ремонт автомобиля
Поэтому, не стоить экономить на качестве горючего, так как подобная экономия потом выливается в очень солидные траты на ремонт автомобиля.
Следите за уровнем топлива в баке. Дело в том, что охлаждается бензонасос от того же самого бензина, который он накачивает. Соответственно, если топлива мало, или же насос работает вхолостую, он может перегреваться и поэтому, выходить из строя. Так же знающие люди, советуют чистить бензобак в положенное время и не пренебрегать этой процедурой. Вот, пожалуй и вся профилактика проблем с бензонасосом.
Daewoo Leganza – предохранители и реле
Автомобиль бизнес-класса Daewoo Leganza выпускался в 1997, 1998, 1999, 2000, 2001, 2002, 2003, 2004, 2005, 2006, 2007 и 2008 году. В данной статье Вы найдете описание блоков предохранителей и реле Дэу Леганза со схемами блоков и фотографиями, выделим предохранитель отвечающий за прикуриватель.
p, blockquote 1,0,0,0,0 —>

p, blockquote 2,0,0,0,0 —>
Блок под капотом
Находится рядом с аккумуляторной батареей под защитной крышкой.
p, blockquote 4,0,0,0,0 —>
Фото – пример исполнения
p, blockquote 5,0,1,0,0 —>

p, blockquote 6,0,0,0,0 —>
Обозначение
p, blockquote 7,0,0,0,0 —>

p, blockquote 8,0,0,0,0 —>
Общая схема
p, blockquote 9,0,0,0,0 —>

p, blockquote 10,1,0,0,0 —>
Расшифровка
p, blockquote 11,0,0,0,0 —>
| 1 | 30А Главный предохранитель для предохранителей 1 — 5 |
| 2 | 30А Электродвигатель нагнетателя воздуха |
| 3 | 20А Вентилятор охлаждения, первая скорость |
| 4 | 60А ABS, ESP |
| 5 | 30А Замок зажигания 2 |
| 6 | 30А Замок зажигания 1 |
| 7 | 20А Стеклоподъемники |
| 8 | 20А Вентилятор охлаждения, вторая скорость |
| 9 | 10А Не используется |
| 10 | 15А Не используется |
| 11 | 20А Не используется |
| 12 | 15А Аварийная сигнализация |
| 13 | 25А Не используется |
| 14 | 30А Не используется |
| 15 | 30А Обогрев заднего ветрового стекла |
| 16 | 20А DIS |
| 17 | 15А Система впрыска |
| 18 | Резерв |
| 19 | 15А Топливный насос |
| 20 | 10А Правый наружный свет (ы) |
| 21 | 10А Левый наружный свет (ы) |
| 22 | 15А Электронный блок управления |
| 23 | 20А Стоп-сигналы |
| 24 | 20А Электропривод сидений |
| 25 | 10А Правый дальний свет |
| 26 | 10А Правый ближний свет |
| 27 | 10А Зеркало с подогревом |
| 28 | 15А Центральный замок |
| 29 | 15А Антенна |
| 30 | 10А Левый дальний свет |
| 31 | 10А Левый ближний свет |
| 32 | 10А Электропривод зеркал |
| 33 | 10А Кондиционирование воздуха |
| 34 | 25А Фары |
| 35 | 10А Сигнал |
| 36 | Резерв |
| 37 | 15А Противотуманные фары |
| R1 | Фары |
| R2 | Топливный насос |
| R3 | Передние противотуманные фары |
| R4 | Вентилятор охлаждения, первая скорость |
| R5 | Задние фонари |
| R6 | Сигнал |
| R7 | |
| R8 | Кондиционирование воздуха |
| R9 | Вентилятор охлаждения, вторая скорость |
| R10 | Замок зажигания 2 |
| R11 | Обогрев заднего ветрового стекла |
| R12 | Замок зажигания 1 |
| D | Диод — кондиционер |
Блок в салоне
Находится под панелью приборов со стороны водителя, за защитной крышкой.
p, blockquote 12,0,0,0,0 —>
p, blockquote 13,0,0,0,0 —>
На обратной стороне будет актуальное обозначение элементов.
p, blockquote 14,0,0,0,0 —>

p, blockquote 15,0,0,1,0 —>
Фото – схема
p, blockquote 16,0,0,0,0 —>

p, blockquote 17,0,0,0,0 —>
Описание
p, blockquote 18,0,0,0,0 —>
| 1 | 10/15А Блок управления, Аудио, Часы, Датчик ключа зажигания |
| 2 | 10А Электронное противоугонное устройство, Круиз-контроль, Диагностика |
| 3 | 15А Предупреждение об опасности, Иммабилайзер |
| 4 | 20/25А Система стеклоочистителей, Система дневного света (DRL) |
| 5 | 10А Панель приборов, ABS, Зуммер, Переключатель передачи, Блок автоматического контроля температуры (АТС), Задние противотуманные фары |
| 6 | 10А Кондиционирование воздуха, Обогрев заднего ветрового стекла |
| 7 | 10АФонарь заднего хода |
| 8 | 20А Прикуриватель, Внутреннее освещение, Сиденья с подогревом |
| 9 | 10А Аудио система, Часы, Переключатель блокировки коробки передач |
| 10 | 15А Блок автоматического контроля температуры (АТС), Часы, Система безопасности |
| 11 | 10А Внутреннее освещение, Сигналы поворота, Аварийная сигнализация |
| 12 | 10А Электронное противоугонное устройство 25А Система стеклоочистителей |
| 13 | 15А Система безопасности, Датчик скорости |
| 14 | 10А DLC, Задний ход, Круиз-контроль, Кондиционирование воздуха |
| 15 | 15А Подушки безопасности, Обогрев заднего ветрового стекла, Реле зажигания 2 |
| 16 | 15/20А Люк |
| 17 | 10А АБС, ESP |
| 18 | 10А Панель приборов |
| 19 | Запасные |
| 20 | Запасные |
Рядом могут располагаться отдельные реле: Реле АБС, Реле электродвигателя вентилятора обогревателя.
Управляющие реле электросистемы Daewoo Nexia
Активация автомобильного оборудования с большим током нагрузки (стартер, вентилятор радиатора, генератор) выполняется через электромагнитные реле. В Дэу Нексия основные реле управления также находятся в монтажном блоке:
| № реле | Назначение | Маркировка | Место установки |
| К1 | Управление электродвигателем вентилятора радиатора (высокие обороты) | 90244312 U | Внешняя сторона блока предохранителей |
| К2 | Управление указателями поворота | 96312545 U (495.3747-01) | |
| К3 | Активация бензонасоса | 90191753 U | |
| К4 | Передние и задние ПТФ | 90244312 U | |
| К5 | Фонари габаритных огней | 90229206 U | Внутренняя сторона блока предохранителей |
| К6 | Передние блок-фары | 90229206 U | |
| К7 | Управление электродвигателем вентилятора радиатора (низкие обороты) | 90229206 U | |
| К8 | Управление компрессором кондиционера | 90229206 U | |
| К9 | Активация клаксона | 90229206 U | |
| К10 | Ближний свет фар (при включении дальнего света) | 90229206 U | |
| К11 | Предупреждающий сигнал (зуммер) | 96208850 | |
| К12 | Управление двигателем крыльчатки отопителя | 90244312 U | |
| К13 | Активация системы зажигания | 90244312 U | |
| К14 | Регулировка скорости дворников лобового стекла | 94788146 | |
| К15 | Таймер активации обогрева заднего стекла | 96116223 |

В салоне
Чтобы добраться до блока предохранителей в салоне, потребуется разместиться на пассажирском кресле. Далее необходимо наклониться в сторону водительского посадочного места, тем самым обеспечив обзор зоны, которая находится под приборной панелью. Затем нужно повернуть голову в сторону педалей. Тогда откроется требуемый элемент, к которому подключена штатная магнитола и другое оборудование.

Также можно добраться до данного блока предохранителей с улицы, если открыть водительскую дверь и, присев на корточки, взглянуть под панель приборов.
Описание салонного блока
Салонные предохранители помимо прикуривателя на Матизе защищают:
- Панель приборов (маркируется как F1 или 10А). Данный элемент подключен к иммобилайзеру, часам, сигнализации, датчикам и контрольным лампам.
- Подушку безопасности (F2 или 10А).
- Электростеклоподъемники (F3 или 25А).
- Указатели сигналов поворота (F4 или 10А). Также этот элемент подключен к соответствующей лампе на приборной панели.
- Стоп-сигналы (F5 или 15А).
- Штатную магнитолу (F6 или 10А).
- Передние стеклоочистители (F8 или 15А).
- Задний стеклоочиститель (F9 или 15А). К этому предохранителю подключены еще лампа заднего хода и омыватели.
Оставшиеся гнезда предназначены соответственно под элементы защиты электропривода боковых зеркал, аудиосистемы и салонного света, питания сигнализации, центрального замка, тягового реле стартера.
Реле блока в салоне
Также в блоке на Дэу Матизе находятся отдельные гнезда для подключения дополнительных предохранителей и реле. Последние обеспечивают работу:
- переднего стеклоочистителя;
- сигналов поворота;
- аварийной сигнализации;
- заднего противотуманного фонаря.
Проблемы с реле определяются «на слух». Если после включения указанных компонентов в блоке под приборной панелью на Дэу Матиз не возникают щелчки, то неисправность кроется именно в данных деталях.
Расположение и электросхема
Схема расположения монтажного блока предохранителей и реле На модели Nexia применяется электрическое оборудование постоянного тока, номинальное напряжение которого составляет 12 вольт. Все потребители энергии в данном транспортном средстве подключаются по одному принципу. В частности, отрицательные выводы оборудования соединены массой (то есть подключены к кузову машины) которая, в свою очередь, выполняет функцию второго провода. Само питание всех приборов происходит от двух источников: если двигатель не работает, то от АКБ (аккумулятора), если работает, то от генератора.
Блок предохранителей (далее — БП) и реле в автомобиле Daewoo Nexia находится в нижней части торпеды машины. В частности, он расположен с левой стороны панели приборов. В транспортных средствах до 2008 года выпуска БП обозначаются маркировкой N100, а в более молодых машинах — N150. Сразу же скажем вам, что по своей конструкции, схеме и назначению компонентов БП абсолютно одинаковые. Разница заключается только в доступе к ним из-за конструктивных особенностей торпеды.
Вашему вниманию представлена схема БП и реле с описанием всех элементов.
Схема БП для автомобилей Daewoo Nexia — на ней указаны номера всех компонентов блока и реле
Таблица описания назначения предохранителей монтажного блока
Также вам может пригодиться описание реле.
| Номер детали | Предназначение |
| К1 | Это реле отвечает за работоспособность вентиляционного устройства охладительной системы. В частности, это реле называют «реле высокой скорости вращения вентилятора». |
| К2 | Этот элемент обеспечивает функционирование ламп указателей поворота. Соответственно, при его выходе из строя вы не сможете сигнализировать другим водителям о вашем намерении повернуть. |
| КЗ | Отвечает на функционирование топливного насоса. Если это реле выйдет из строя, то работа бензонасоса будет невозможной, соответственно, не получится и запустить двигатель. |
| К4 | Отвечает за функционирование передних и задних противотуманных фонарей. |
| К5 | Обеспечивает работу габаритных ламп и «противотуманок». |
| К6 | При поломке этого реле работа ламп головного света (отвечающего за ближний и дальний) будет невозможна. |
| К7 | Поломка этого компонента, отвечающего за скорость работы вентилятора охладительной системы, свидетельствует о том, что возможен перегрев двигателя и, как следствие, его закипание. Данную деталь необходимо заменить сразу же, если она вышла из строя. |
| К8 | Поломка этого реле свидетельствует о том, что не работает муфта компрессора системы климат-контроля. |
| К9 | Отвечает за функционирование гудка рулевого колеса. |
| К10 | Также обеспечивает работоспособность ламп головного света. |
| К11 | Этот компонент обеспечивает работоспособность мелодичного сигнала (звук при открытии дверей, не застегнутых ремнях безопасности — в зависимости от комплектации). |
| К12 | Реле отвечает за активацию четвертой скорости вентилятора отопительной системы. Если оно выйдет из строя, то при слишком низких температурах отопитель не сможет работать на полную. |
| К13 | Обеспечивает работу система зажигания. При перегорании реле запуск мотора будет невозможен. |
| К14 | Отвечает за устройство очистителя лобового стекла. |
| К15 | Таймер обогрева заднего стекла. |
Комментарии и уточнения где находится предохранитель омывателя лобового стекла Daewoo Leganza
Спасибо за обзор! Пересмотрел десяток видео на эту тему, это единственное где всё понятно и хорошо снято! До этого что видел, вот сняли крышку, вот поставили крышку. Накой такое вообще выкладывать, если ничего не видно и не понятно!
Добрый день пробег нексии239км сизый дым из выхлопной не работает 3 цилиндр мог ли сальник клапанов задубить?
Неужели производители не могли придумать, что то лучше чем ремень?? Например цепь! Она так просто не порвется!
сегодня менял сеточку бензонасоса ланоса, тяга на ходу пропадала. как достал, обалдел!! помучился, правда, сам насос из стакана вытаскивать, крючек из электрода слелал, 4мм толщиной и вытащил. ВЕСЬ СТАКАН был забит грязью плотно, про сеточку и говорить нечего. опупеть сколько ржавчины. что вот делать с ржавчиной в бензобаке? снимать его неохота. промыл, сеточку заменил, все нормально! спасибо, видео помогло реально!
Максим, большое спасибо, очень помогло твое видео. Хотела ехать на СТО, но решила все же просмотреть видео и нашла ответ на поломку.
можно попросить вас снять видео про зеркало на лобовом стекле заднего вида. как оно снимается, разбирается (опель астра G), я нигде не могу найти это!а то у меня оно при каждой хорошей вибрации стряхивается, а если знаете как его жощи сделать..буду благодарен!
ГРМ менял на своей ваз 21120 менее тысячу назад+ролики+помпу, вчера еду тихо и бац встал, оказалась порвался, сегодня поставил новый без надежды на работу, все ок меня пронесло)
Я чего то не понял, как ты один когда качал педалью,то когда педаль отпускал то воздух обратно не засасывал с цилиндра. Штуцер то был открыт постоянно, его никто не прикрывал когда ты нажимал на педаль и потом отпускал её. Или у тебя обратный клапан где то стоит?Или в банке тормозуха налита а в неё трубка погружена?? Поясни не понял, как ты отпуская педаль один при открытом штуцере не загнал воздух?
Расположение блоков предохранителей и реле в Daewoo Gentra
Легковые автомобили Daewoo или Ravon (с 2016 г. название компании-производителя было изменено) Gentra являются модернизированным вариантом Chevrolet Lacetti. Машины предлагаются только в ряде стран СНГ, доступны версии с механической или автоматической коробкой передач.
На машинах имеется несколько распределительных коробок, установленных в следующих зонах:
- внутри салона (под пластиковой обшивкой);
- под капотом (щиток расположен открыто, что обеспечивает быстрый доступ).
В салоне
Салонная коробка предохранителей находится внутри панели приборов. Для доступа к щитку достаточно открыть дверь со стороны водителя и снять торцевую крышку панели (установлена на направляющих выступах и защелках). На оборотной стороне заглушки приклеена этикетка с перечислением функций плавких вставок и номинальных токов, на которые рассчитаны предохранители. На части автомобилей магнитолы устанавливались владельцами, защитная вставка оборудования находится на задней стенке корпуса рядом с разъемами подключения питания и акустической системы.
Расположение предохранителей в салоне.
В моторном отсеке
Коробка закреплена на чашке передней подвески и колесной арке в правой части отсека за аккумуляторной батареей. Корпус щитка выполнен из ударопрочного пластика, выдерживающего высокую температуру. Для доступа к расположенным внутри элементам необходимо снять крышку, оснащенную защелкой. При обратной установке необходимо плотно прижать заглушку (до щелчка замка). На задней плоскости крышки краской нанесена схема с указанием точек монтажа, номинала и предназначения предохранителей.
Под приборной панелью
Часть реле на Daewoo Gentra вынесена в салон автомобиля и расположена в щитке, спрятанном под пластиковой панелью приборов около педального узла. Для доступа к коробке необходимо снять малый бардачок, закрепленный на винтах, а затем отвести в сторону и демонтировать декоративную обшивку нижней части панели. Замена распределительных элементов требуется редко, гораздо чаще перегорают плавкие вставки (например, при коротком замыкании).
Где находится стартер Нексии: Реле, Предохранитель
В процессе эксплуатации у некоторых водителей Нексии возникает вопрос где находится стартер? До стартера в нексии добраться достаточно проблематично, так как он находится в задней части двигателя под впускным коллектором со стороны салона автомобиля. А именно, на картере сцепления с задней стороны силового агрегата.
Чтобы снять стартер на нексии потребуется два ключа на 10 и на 13. Казалось бы просто, но это только на первый взгляд. Чтобы снять стартер потребуется подъемник или яма. Подобраться сверху к нему будет очень трудоёмко, так как предварительно необходимо снять топливную рампу, а также впускной коллектор.
Реле стартера где находится нексия?
Как такого реле в блоке предохранителей Нексии не существует. Под реле стартера подразумевается тяговое реле или втягивающее. Реле стартера находится прямо на стартере.
Ненормальная работа стартера проявляется в случае:
- Стартер не включается – обрыв контактов. Проверьте провода на замке зажигания или контакты подходящие к стартеру.
- При включении стартера слышны многократные повторяющиеся щелчки. Скорее всего проблема кроется в севшем аккумуляторе или в умирающем тяговом реле.
- Стартер включается, но крутит слабо. Возможно плохо заряжен аккумулятор, плохой контакт на стартере, а также стертые щетки, или сломанное втягивающие реле.
На фото изображен стартер Нексии. Реле (втягивающее) находится сверху стартера и меняется отдельно от самого стартера.
Daewoo Nexia › Logbook › Nexia не крутит стартер — РЕШЕНО (СИГНАЛИЗАЦИЯ)!
Всем привет! Нужна помощь определить поломку, напишу что уже делал:
Завел машину с автозапуска (alligator s825), проехал, заглушил. Завожу с ключа, стартер не крутит. Пробую автозапуск, зажигание включается, стартер не крутит. В салоне щелкает релюшка при попытке крутить стартер (возможно, в сигнализации). Из-под капота никаких щелчков не слышно. Погуглил, проверил клеммы акб, все нормально, сбрасывал их, нет результата. Проверил КГ, при повороте ключа на стартер на фиолетовом проводе появляется +12. Проверил предохи 30А у сигналки, норм. Управляющий стартером сиреневый провод не проверял пока, на нем должен быть + при попытке автозапуска, или просто с ключа. Предохранитель на этом сиреневом проводе не нашел. Может совпадение, проблема появилась, как только похолодало. Пытался контакты замкнуть на стартере, но не получилось, или не то замыкал. Неудобно подлазить туда… Подскажите в чем может поломка, и как все-таки замкнуть стартер напрямую?
ПРОБЛЕМА РЕШЕНА! РЕШИЛ ТАКИ ЗАМКНУТЬ ОТВЕРТКОЙ КОНТАКТЫ НА ВТЯГИВАЮЩЕМ, ПОДЪЕХАЛ БЫВАЛЫЙ МУЖИЧОК НА НЕКСИИ N100, ПОКАЗАЛ ГДЕ ЗАМКНУТЬ, ЗАВЕЛАСЬ. ОН РЕКОМЕНДОВАЛ ИСКАТЬ ОБРЫВ ДО УПРАВЛЯЮЩЕГО ПРОВОДА ВТЯЩИВАЮЩИМ РЕЛЕ. ИМ У МЕНЯ УПРАВЛЯЕТ СИГНАЛКА. ОКАЗАЛОСЬ, ТО НА НЕМ (ТОЛСТЫЙ СИРЕНЕВЫЙ ПРОВОД ИЗ СИЛОВОГО РАЗЪЕМА УПРАВЛЕНИЯ АВТОЗАПУСКОМ) ТО БЫЛ +, ТО НЕТ. КОГДА ЗАМЫКАЛ НА СИРЕНЕВЫЙ ПРОВОД НА КГ НА 30 КОНТАКТ КГ В ОБХОД СИГНАЛКИ, ТО СТАРТЕР КРУТИЛ. ПРОВЕРИЛ ПРЕДОХИ СИГНАЛКИ 30А, ЦЕЛЫЕ. ВСТАВИЛ ШТЕКЕР ПЛОТНЕЕ, ПЕРЕУЛОЖИЛ ПРОВОДА, ВСЕ СТАЛО НОРМ. ГРЕШУ ЛИБО НА НЕПЛОТНЫЙ КОНТАКТ В ШТЕКЕРЕ СИГНАЛКИ, ЛИБО НА ВСТРОЕННОЕ РЕЛЕ В СИГНАЛКЕ.
МУЖИКИ! С ПРАЗДНИКОМ 23 ФЕВРАЛЯ!
Предохранители
Для того, чтобы заменить перегоревший предохранитель, необходимо открыть крышку блока предохранителей и извлечь предохранитель из гнезда.
Неисправный предохранитель можно визуально отличить по перегоревшей проволоке. Новый предохранитель следует устанавливать вместо перегоревшего только после того, как будет определена и устранена причина неисправности.
Разрешается использовать только стандартные электрические предохранители, рассчитанные на определенную величину номинального тока (см. таблицу ниже). Величина номинального тока указана на корпусе каждого предохранителя.
| Номинальный ток, А | Цвет предохранителя |
| 10 | Красный |
| 15 | Голубой |
| 20, 25 | Желтый |
| 30 | Зеленый |
Использование неподходящих (по типу или номинальному току) плавких предохранителей может привести к перегоранию приборов электрического оборудования автомобиля и даже вызвать пожар.
Разрешается использовать для замены только стандартные предохранители с таким же значением номинального тока, что и перегоревшие предохранители.
Запрещено заменять перегоревший предохранитель какими-либо подручными средствами или проволокой.
Не следует использовать отвертку или другой металлический инструмент для извлечения предохранителей из гнезд. Следствием неосторожных действий может стать короткое замыкание и повреждение электрооборудования автомобиля.
Пять запасных плавких предохранителей, рассчитанных на номинальный ток 10 А, 15 А, 20 А, 25 А и 30 А, расположены в подкапотном блоке реле и предохранителей. Кроме того, два запасных предохранителя на 10 А и 15 А находятся в блоке предохранителей и реле под приборной панелью.
Блок электрических предохранителей
Блок плавких предохранителей расположен слева под приборной панелью. Блок предохранителей закрыт крышкой.
Второй блок предохранителей расположен в моторном отсеке рядом с аккумуляторной батареей.
Блок предохранителей, расположенный под приборной панелью
| F1 | Аудиосистема, цифровые часы | 10 А | F10 | — | — |
| F2 | Бортовая диагностическая система | 10 А | F11 | Фонари указателей поворота | 15 А |
| F3 | Иммобилайзер | 10 А | F12 | Стеклоочиститель | 25 А |
| F4 | — | 20 А | F13 | Электронный блок управления | 15 А |
| F5 | Задние противотуманные фары | 10 А | F14 | Фонари заднего хода | 10 А |
| F6 | Выключатель кондиционера воздуха | 20 А | F15 | Система подушек безопасности | 10 А |
| F7 | — | — | F16 | Электропривод вентиляционного люка | 20 А |
| F8 | Прикуриватель | 20 А | F17 | Антиблокировочная система тормозов | 10 А |
| F9 | Аудиосистема | 10 А | F18 | Комбинация приборов и приборная панель | 10 А |
| S1 | Запасной предохранитель | 10 А | Р | Пинцет для извлечения предохранителей | |
| S2 | Запасной предохранитель | 15 А |
Блок предохранителей и реле, расположенный в моторном отсеке
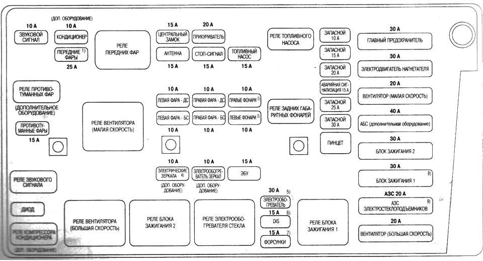
*10 А Звуковой сигнал (Дополнительное оборудование) 10 А Кондиционер Передние фары 25 А Реле передних фар 15 А Центральный замок Антенна 10 А 20 А Стоп-сигнал Электропривод сиденья 20 А Топливный насос 15 А Реле топливного насоса Запасной 10 А Запасной 15 А Запасной 20 А 30 А Главный предохранитель 30 А Электродвигатель нагнетателя 20 А Вентилятор (малая скорость) 60 А АБС 30 А Блок зажигания 2 30 А Блок зажигания 1 АЗС 20 А АЗС электростеклоподъемников 20 А Вентилятор (большая скорость) Аварийная сигнализация 15 А Запасной 25 А Запасной 30 А Пинцет Реле задних габаритных фонарей 10 А Правые фонари Левые фонари 10 А 10 А Правая фара – дальний свет Правая фара – ближний свет 10 А 10 А Левая фара – дальний свет Левая фара – ближний свет 10 А Реле вентилятора (малая скорость) Реле противотуманных фар (Дополнительное оборудование) Противотуманные фары 15 А Реле звукового сигнала Диод Реле компрессора кондиционера (Дополнительное оборудование) Реле вентилятора (большая скорость) 10 А Электрические зеркала (Дополнительное оборудование) 10 А Электрообогреватель зеркал (Дополнительное оборудование) 15 А ЭБУ Реле блока зажигания 2 Реле электрообогревателя стекла 30 А Электрообогреватель 15 А DIS 15 А Форсунки Реле блока зажигания 1*




























