Схема трактора МТЗ 82
Трактор МТЗ 82 выполнен по обычной, стандартной схеме, как и большинство остальных тракторов (задние колеса естественно,больше передних) и они имеют полурамную конструкцию. На трактор устанавливают, чаще всего, дизель Д 240 с запуском от электростартера или же МТЗ-82 240Л с уже запуском, который уже исходит от карбюраторного пускового двигателя.
Дизель с естественным введением топлива и объемно пленочным смесеобразованием в камере сгорания, которая размещается в поршне, развивает мощность приблизительно до 59 кВт (80 л. с.) при частоте вращения около 2200. мин и совсем небольшом расходе топлива 238 г/кВт-ч(185 г/э.л.с.ч).
Трансмиссия трактора МТЗ 82
Трансмиссия создана для того, чтобы передавать крутящий момент от дизеля к ведущим колесам трактора, валам отбора мощности, а также для изменения по величине и направлению оборотов и передаваемого крутящего момента.
На тракторе МТЗ-82 применяется ступенчатая трансмиссия, которую составляют следующие основные механизмы: сцепление; коробка передач; задний ведущий мост с главной передачей, дифференциалом и конечными передачами.
Также в трансмиссию трактора МТЗ 82 входит передний ведущий мост с главной передачей, самоблокирующимся дифференциалом и колесными редукторами, для привода которых дополнительно применяются раздаточная коробка и карданная передача.
Электрооборудование двигателя на МТЗ-1221 — Схема

Рисунок 3.3 — Проверка/регулировка натяжения ремня привода компрессора кондиционера
Регулировка натяжения ремня привода компрессора кондиционера:
регулировку натяжения ремня 1 компрессора 2 требуется производить посредством
поворота компрессора 2 (рисунок 3.3) на оси вращения А и зажима резьбового соединения Б
в пазу сектора В. После регулировки прогиб ремня от усилия (39 + 2,0) Н, приложенного
перпендикулярно середине ветви, должен быть от 4 до 6 мм.
Операция 6а. Проверка затяжки болтов хомутов воздуховодов ОНВ
Проверьте, и, если необходимо, подтяните болты хомутов воздуховодов ОНВ. Мо-
мент затяжки болтов хомутов воздуховодов ОНВ должен быть от 10 до 15 Н⋅м.
Операция 7а. Замена фильтра-осушителя.
Производится один раз в год или при наработке 800 часов.
ВНИМАНИЕ: ДЛЯ ЗАМЕНЫ ФИЛЬТРА-ОСУШИТЕЛЯ НЕОБХОДИМО ОБРА-
ЩАТЬСЯ НА СПЕЦИАЛИЗИРОВАННУЮ СЕРВИСНУЮ СТАНЦИЮ. ЗАМЕНА ПРОИЗ-
ВОДИТСЯ ТОЛЬКО С ИСПОЛЬЗОВАНИЕМ СПЕЦИАЛЬНОГО ОБОРУДОВАНИЯ.
Схема электрическая соединений «БЕЛАРУС — 920.4/952.4/1025.4/1221.4»
Перечень элементов схемы электрической соединений, представленной на рисунке
А.1, приведен в таблице А.1.
Продолжение таблицы А.1
Продолжение таблицы А.1
Окончание таблицы А.1
Расцветка проводов: Г — голубой, ГЧ — голубой-черный, Ж — желтый, ЖЗ — Желтый-
зеленый, З — зеленый, К — красный, КЖ — красный-желтый, Кч — коричневый, О — оранже-
вый, Р — розовый, С — серый, СЗ — серый-зеленый, Ф — фиолетовый, Ч — черный, ЧО —
Схема электрическая подключения дополнительных передних рабочих фар, установ-
ленных на кронштейнах передних фонарей, представлена на рисунке A.2.
Рисунок А.2 — Схема электрическая подключения дополнительных передних рабочих фар
Е5,E6 — фара рабочая;
EL8,EL13 — лампа АКГ12-55-1;
SA11 — выключатель фар рабочих;
Примечание — Наименования остальных элементов схемы рисунка А.2 приведены в
Рисунок А.1 — Схема электрическая соединений тракторов «БЕЛАРУС — 920.4/952.4/1025.4/1221.4»
Расцветка проводов: Г — голубой, ГЧ — голубой-черный, Ж — желтый, ЖЗ — Желтый-зеленый, З — зеленый, К — красный, КЖ — красный-желтый, Кч — коричневый, О — оранжевый, Р — розовый, С — серый, СЗ — серый-зеленый, Ф — фиолетовый, Ч — черный, ЧО -черный-оранжевый.
Схема электрическая подключения дополнительных передних рабочих фар, установленных на кронштейнах передних фонарей, представлена на рисунке A.2.
Рисунок А.2 — Схема электрическая подключения дополнительных передних рабочих фар
Е5,Е6 — фара рабочая;
EL8,EL13 — лампа АКГ12-55-1;
SA11 — выключатель фар рабочих;
Примечание — Наименования остальных элементов схемы рисунка А.2 приведены в таблице А.1.
1 — Лампа сигнализатора включения привода ПВМ; 2 — Лампа сигнализатора включения БД; 3 — Реле включения привода ПВМ; 4,5 — Диоды; 6 — Реле тормозов; 7 — Реле включения БД; 8 — Переключатель трехпозиционный управления БД; 9 — Переключатель трехпозиционный управления ПВМ; 10, 16, 17, 18, 19, 20 — Колодки соединительные; 11 — Датчик левого тормоза; 12 -Датчик автоматического управления приводом ПВМ; 13 — Электромагнит гидрораспределителя БД; 14 — Электромагнит гидрораспределителя ПВМ; 15 — Датчик угла поворота передних колес ± Р13° (для БД). Рисунок Б. 1 — Схема электрическая соединений системы управления БД заднего моста и приводом ПВМ
содержание .. 2 3 4 5 ..
Стартер в электросхеме трактора
Обязательным элементом электрооборудования минских тракторов является стартер, включение которого осуществляет цветная схема. Стартер состоит из следующих элементов:
- электрический двигатель;
- привод;
- реле;
- выключатель.
Мощность двигателя составляет 4,8 л.с. Электросхема МТЗ-82 обеспечивает работу двигателя постоянного тока стартера, который выполнен из катушек последовательного возбуждения. Все катушки имеют 4 полюса.
Чтобы включить стартер, разработчики установили специальный выключатель. Он расположен на пульте управления в кабине оператора. Запуск двигателя происходит благодаря тому, что идет питание от аккумулятора. Крутящий момент от вала постепенно передается на коленчатый вал, что связано с работой шестерни привода с маховиком.
Как подключить на МТЗ-80
Трактор «Беларус» МТЗ-80 по умолчанию оснащен бензиновым стартером ПД-10У, называемым в простонародье «пускач». У него есть весомый минус – постоянная потребность в топливе. Чтобы подключить вместо пускача электрический стартер, необходимо преобрести сам стартер, задний переходной лист и маховик (или венец маховика).
Перед началом работы над заменой, изучите электросхемы и чертежи. Представленная схема показывает, что для подключения достаточно провод от реле подсоединить к «плюсу» стартера, а отрицательную клемму — к корпусу трактора.
Схема подвесного на мтз 82
Подвеска предназначена для шарнирного крепления тяговой рамы с отвалом к основной раме автогрейдера и обеспечения его установки отвала в различные положения, которые необходимы для нормального функционирования машины.
Подвеска тяговой рамы к основной раме осуществляется на трех разных точках. Одним из которых, является шаровой шкворень, шарнирно соединяющий обе рамы, — это передняя по ходу автогрейдера подвеска.
Есть так же задняя подвеска, которая осуществляется с помощью двоих гидроцилиндров подъема отвала, закрепленные шарнирно за две проушины хомута на основной раме автогрейдера, и шаровые шарниры поперечной балки тяговой рамы.
Гидроцилиндры могут либо поднимать, либо опускать тяговую раму в зависимости от их включения, так же они соединяют обе рамы.
Общая схема электрического оборудования трактора
Приборы электрооборудования соединены по однопроводной схеме, функцию второго провода выполняют металлические части трактора «масса» , с которой соединены отрицательные клеммы приборов электрооборудования.


Электропроводка трактора МТЗ 82 и ее цветная схема :: Трактор МТЗ-82
Теперь мы отправимся в наши комнаты и там поедим, так как вы, конечно, проголодались. Ещё, как то правильно надо развести питание с генератора, так же всё с нуля делать. Все работы производимые с электрооборудованием трактора, требуют специальной подготовки и квалификации, так как работы выполненные неподготовленным человеком могут привести к плачевному результату, например, такому как преждевременное повреждение электроприборов или еще хуже, возгоранию трактора.
Скачать руководства для ремонта трактора МТЗ своими руками Руководство по эксплуатации Беларус Магнето МБ1пускача С целью воспламенения рабочей смеси в цилиндре пускового двигателя магнето, необходимо создать электрический разряд напряжением в пределах от 10 до к.
Какой трактор МТЗ выбрать? Обзор тракторов Беларус 82, 1221, 1523, 892, 1025
Рекомендуем: Как снять передний мост МТЗ-82
Схема подвесного на мтз 82
Подвеска предназначена для направления ленточной машины с отвалом к основной раме грейдера и обеспечения установки отвала в различных положениях, необходимых для нормальной работы машины.
Ленточная машина подвешена к основной раме в трех разных точках. Один — шкворень, который сочленяет обе рамы — это передняя подвеска по грейдеру.
Также имеется задняя подвеска, которая осуществляется посредством двух гидроцилиндров подъема отвала, шарнирно закрепленных на двух прижимных проушинах на основной раме грейдера, и шаровых опорах на поперечине ленточной рамы.
Гидравлические цилиндры могут либо поднимать, либо опускать ленточный станок в зависимости от приведения в действие, а также соединять обе рамы вместе.
Схема трактора МТЗ 82
Трактор МТЗ 82 выполнен по обычной, стандартной схеме, как и большинство других тракторов (задние колеса, естественно, больше передних) и имеют полурамную конструкцию. Чаще всего на трактор устанавливают дизель Д 240 с пуском от электростартера или МТЗ-82 240Л с уже пуском, который идет уже от карбюраторного стартера.
Дизель с естественным впрыском топлива и объемной пленочной смесью в камере сгорания, которая находится в поршне, развивает мощность до ок. 59 кВт (80 л.с.) при скорости ок. 2200 мин и очень низкий расход топлива 238 г/кВтч (185 г/л).
Схема электрооборудования трактора МТЗ 82
Электрооборудование трактора МТЗ 82 предназначено для пуска и обеспечения работы двигателя, работы электроприборов и других устройств, а также работы трактора и сельскохозяйственной техники в ночное время, как при выполнении сельскохозяйственных работ, так и при использовании трактора для транспортная работа.
Номинальное напряжение в системе 12 В. В систему электрооборудования трактора входят:
- источники электрической энергии — аккумуляторы и динамо-машина, работающие совместно с реле-регулятором;
- система запуска двигателя — электростартер с дистанционным включением; схема подключения реле реле стартера, элемент управления подогревом электрогорелки дополнительного сопротивления; электрофакельный нагреватель; 3-х позиционный переключатель обогревателя и стартера;
- освещение и световая сигнализация — передние и задние фонари; передние указатели поворота; задние фонари габаритов трактора, стоп-сигналы и указатели поворотов; подсветка номерного знака; световые индикаторы на панели приборов; купол освещения кабины; переносная лампа; реле поворотников; центральные выключатели и выключатели света;
- электродвигатель блока обогрева и охлаждения воздуха в кабине с выключателем;
- электродвигатель со стеклоочистителем и переключателем;
- соединительные панели; штепсельные разъемы; жгуты проводов и блоки предохранителей;
- контрольно-измерительные приборы — указатели температуры воды и давления масла; амперметр; датчик давления воздуха; тахометр.
Трансмиссия трактора МТЗ 82
Трансмиссия предназначена для передачи крутящего момента от дизеля на ведущие колеса трактора, карданные валы, а также для изменения величины и направления оборотов и передаваемого крутящего момента.
В тракторе МТЗ-82 используется ступенчатая коробка передач, которая состоит из следующих основных механизмов: сцепления; Передача; задний приводной вал с главной передачей, дифференциалом и главной передачей.
В состав трансмиссии трактора МТЗ 82 входят также передний карданный вал с главной передачей, самоблокирующийся дифференциал и колесный редуктор, который дополнительно приводится в движение раздаточной коробкой и карданной передачей.
Электрическая схема электропроводки МТЗ-82.1 цветная с описанием
«Беларус» МТЗ-82.1 — это универсальный сельскохозяйственный трактор 2006 года нового образца, являющийся модифицированной моделью МТЗ-82 и может оснащаться ямобуром, стогомётом или плугом. В моделях, выпускаемых с 2013 года усовершенствована ходовая часть и добавлено большое количество навесного оборудования, которое можно приобрести отдельно.
При техническом обслуживании электрооборудования или ремонте чаще всего происходит снятие нужного блока или частичное отключение проводки, тут-то и понадобится принципиальная схема электропроводки в цвете, которую вы сможете посмотреть и скачать абсолютно бесплатно!
Если требуется отключить или подключить электропроводку, произвести ремонт оборудования (к примеру, генератора или аккумулятора):
- сверьтесь с эл схемой;
- выключите включатель массы перед началом работ (проводить разъединение и соединение штепселей следует строго в неработающем состоянии двигателя);
- не проверяйте исправность электроцепей методом «искры», создавая короткое замыкание;
- соблюдайте полярность аккумуляторной батареи, внимательно подключайте плюс к плюсу, минус к минусу.
Электросхема трактора МТЗ-82
Электрическая схема имеет напряжение 12 В, отрицательные выходы источников тока и потребителей выведены на металлический каркас трактора. В качестве источников тока используются свинцово-кислотный аккумулятор и генератор переменного тока, установленный на дизеле. Для привода ротора применяется ременная передача от шкива на носке коленчатого вала.

На технике, собранной до начала 1976 г., использовалась установка Г304-Д1 мощностью 400 Вт. Позднее стали применяться Г306 с аналогичными параметрами и Г309, отличающиеся повышенной до 1000 Вт отдачей и увеличенным ресурсом. Генераторы оснащаются обмоткой с самовозбуждением, что позволяет эксплуатировать технику со снятой батареей. Заводская документация рекомендует включать электрооборудование последовательно, что снижает пиковую нагрузку на генератор.
Что собой представляет
На схеме приведено взаимное положение электрических компонентов и соединительных кабелей. В отдельном поле имеется расшифровка цветов изоляции, используемой для защиты электропроводки. Отдельные выноски поясняют коммутацию узлов или реле, что упрощает ремонтные работы.
Краткий перечень узлов, имеющихся на схеме электропроводки трактора МТЗ-82:
- источники питания;
- распределительная коробка с плавкими предохранителями;
- контрольные приборы и индикаторы в кабине оператора;
- электрический стартер и цепи управления устройством;
- система зажигания бензинового стартера ПД-10 (установлен на модификации МТЗ-82Л);
- внешняя светотехника (фары головного света, габаритное освещение, кормовые сигналы торможения, указатели направления поворота);
- электрические двигатели трапеции стеклоочистителя, насоса подачи омывающей жидкости и системы вентиляции;
- штепсельная розетка, позволяющая подключить световые приборы на прицепном оборудовании;
- вспомогательные устройства (например, сигнальный маяк на крыше или плафон подсветки в кабине трактора).
В тракторах «Беларус-82», выпущенных после 2010 г., имеется дополнительная цепь для подключения радиоприемника и громкоговорителей. В конструкции замка зажигания введена дополнительная позиция, позволяющая включить приемник при заглушенном двигателе. На части машин устанавливается кондиционер с компрессором, снабженным электромагнитной муфтой включения. На тракторах встречается электрофакельный подогреватель двигателя, оборудованный электромагнитными клапанами и спиралью накаливания.

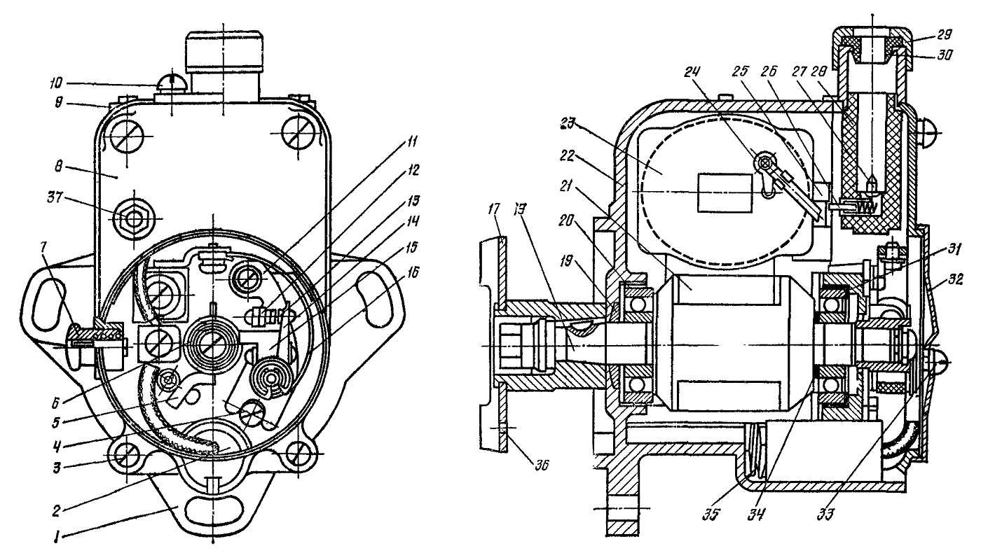
Стартер МТЗ-82
Для запуска силового агрегата используется электрический двигатель, оснащенный втягивающим реле. Электромагнитный узел позволяет вводить в зацепление с зубчатым венцом маховика шестерню, установленную на роторе стартера. После начала работы двигателя оператор трактора отпускает ключ в замке, реле автоматически размыкает коленчатый вал и ротор электрического мотора. Большой стартер имеет мощность 4,8 л. с., на части машин используются агрегаты с планетарным редуктором, обеспечивающие уверенный пуск дизеля при низкой температуре воздуха.
Малый стартер используется при установке 1-цилиндрового пускового двигателя ПД-10 с принудительным искровым зажиганием. На технике встречаются электродвигатели моделей СТ-352Д и СТ-365, отличающиеся мощностью (440 и 550 Вт соответственно).
Магнето М124-Б1
Для формирования искры, необходимой для работы пускового мотора, используется магнето с фиксированным углом опережения зажигания. В конструкции узла используется ротор, который установлен на подшипниках. При вращении в сердечнике трансформатора и магнитопроводе формируется низкое напряжение, наводящее магнитный поток. При достижении максимального тока происходит размыкание обмотки, что приводит к генерированию тока высокого напряжения в цепи зажигания.
Для включения магнето используется отдельная кнопка, выведенная в кабину трактора. Подача тока к свече происходит только при нажатой клавише, при отпускании кнопки пусковой двигатель глохнет. На корпусе магнето предусмотрена резервная кнопка включения. При отключении происходит замыкание первичной обмотки встроенного трансформатора на массу.

Разъемы соединений трактора
Для подключения компонентов электрической цепи используются пластиковые штекеры с зажимами. Часть электропроводки подсоединяется при помощи винтовых зажимов. В конструкции машины предусмотрена штепсельная розетка с крышкой, позволяющая подключить и синхронизировать работу светотехники на прицепах или сельскохозяйственных установках.
Электросхема трактора МТЗ-82
Электрическая цепь имеет напряжение 12 В, минусовые выводы источников питания и потребителей выведены на металлокаркас трактора. В качестве источников питания используются свинцово-кислотная батарея и динамо-машина, установленная на дизельном двигателе. Для привода ротора используется ременная передача от шкива на носке коленчатого вала.

На оборудовании, собранном до начала 1976 года, применялся агрегат Г304-Д1 мощностью 400 Вт. Позднее стали применяться Г306 с аналогичными параметрами и Г309, отличающиеся повышенной до 1000 Вт мощностью и повышенным ресурсом. Генераторы оснащены обмоткой с самовозбуждением, что позволяет эксплуатировать оборудование со снятой батареей. Заводская документация рекомендует включать электрооборудование последовательно, что снижает пиковую нагрузку на генератор.
Что собой представляет
На схеме показано взаимное расположение электрических компонентов и соединительных кабелей. В отдельном поле находится расшифровка цветов изоляции, используемой для защиты электрических проводов. Отдельные сообщения поясняют замену узлов или реле, что упрощает ремонтные работы.
Краткий перечень узлов, имеющихся на электрической схеме трактора МТЗ-82:
- источники питания;
- распределительная коробка с предохранителями;
- блоки управления и индикаторы в кабине;
- электрические цепи запуска и управления агрегатом;
- система зажигания бензинового стартера ПД-10 (устанавливалась на модификации МТЗ-82Л);
- наружное светотехническое оборудование (фары, стояночное освещение, кормовые стоп-сигналы, указатели поворотов);
- электродвигатели трапеции стеклоочистителя, насоса омывающей жидкости и системы вентиляции;
- розетка, позволяющая подключать осветительные приборы на буксируемой технике;
- вспомогательное оборудование (например, проблесковый маячок на крыше или потолочный фонарь в кабине трактора).
Тракторы Беларус-82 выпуска после 2010 года имеют дополнительную схему подключения магнитолы и динамиков. В конструкцию замка зажигания введено дополнительное положение, позволяющее включать приемник при выключенном двигателе. На некоторых машинах установлен кондиционер с компрессором, оснащенным электромагнитной муфтой. На тракторах установлен электрогорелочный подогреватель двигателя, оснащенный электромагнитными клапанами и катушкой накаливания.

Стартер МТЗ-82
Для запуска силового агрегата используется электродвигатель, оснащенный магнитным реле. Электромагнитный блок позволяет шестерне, установленной на роторе стартера, войти в зацепление с зубчатым венцом маховика. После запуска двигателя тракторист отпускает ключ в замке, реле автоматически размыкает коленчатый вал и ротор электродвигателя. Большой стартер имеет мощность 4,8 л с., на некоторых машинах применяются агрегаты с планетарным редуктором, что обеспечивает безопасный запуск дизеля при низких температурах воздуха.
Небольшой стартер используется при установке 1-цилиндрового стартера с принудительным зажиганием ПД-10. На оборудовании имеются электродвигатели моделей СТ-352Д и СТ-365, отличающиеся мощностью (440 и 550 Вт соответственно).
При установке бензинового двигателя используется аккумулятор емкостью 50 А*ч и напряжением 12 В. На технике, оборудованной только электростартером, 2 аккумулятора напряжением 6 В и емкостью 215 А*ч используются, соединенные последовательно.
Магнето М124-Б1
Для создания искры, необходимой для работы стартера, используется магнето с фиксированным углом опережения зажигания. В конструкции узла используется ротор, который установлен на подшипниках. При вращении в сердечнике трансформатора и магнитопроводе образуется низкое напряжение, которое наводит магнитный поток. При достижении максимального тока обмотка размыкается, что приводит к возникновению высоковольтного тока в цепи зажигания.
Для включения магнита используется отдельная кнопка, показанная в кабине трактора. Питание на свечу подается только при нажатии клавиши, при отпускании кнопки стартер останавливается. На магнитной крышке есть кнопка резервного питания. При отключении первичная обмотка встроенного трансформатора замыкается на землю.

Разъемы соединений трактора
Пластиковые вилки с зажимами используются для подключения компонентов к электрической цепи. Часть электропроводки подключается с помощью винтовых клемм. В конструкции машины предусмотрена розетка с крышкой, позволяющая подключать и синхронизировать работу осветительного оборудования на прицепах или сельскохозяйственных установках.

























